Kran an das Stromnetz anschließen

 

Nur bei Laufkran

 

Übersicht: Elektrischer Anschluss des Krans

─     Die Stromversorgung für den Kran beginnt bei der Unterverteilung (8) des Stromnetzes.

─     Von dort geht eine Leitung (7) zum Netzanschlussschalter (1) der Krananlage.

Ein Netzanschlussschalter ist die beste Möglichkeit, um die gesamte Krananlage freischalten zu können.

Der Netzanschlussschalter muss gegen versehentliches Wiedereinschalten zu sichern sein.

Der Netzanschlussschalter befindet sich meist unterhalb der Hauptstromzuführung des Krans, z. B. an der Hallenwand oder an einer Hallenstütze oder Betonstütze.

─     Vom Netzanschlussschalter geht die Steigleitung (2) zur Einspeisung (3).

─     Die Einspeisung verbindet die Steigleitung mit der Hauptstromzuführung (4) (meist Schleifleitung) des Krans.

─     In der Hauptstromzuführung befindet sich ein beweglicher Stromabnehmer (5), der mit dem Kran entlang der Kranbahn fährt.

─     Der Kran wird mit dem Netztrennstecker (6) mit der Hauptstromzuführung verbunden.

Mit diesem Netztrennstecker kann der einzelne Kran freigeschaltet werden. Der Netztrennstecker kann gegen versehentliches Wiedereinschalten gesichert werden.

Statt des Netztrennsteckers kann auch ein separater Netztrennschalter (in Form eines Hauptschalters) am Kranschützkasten angebracht sein.

Die Funktion des Netztrennsteckers oder Netztrennschalters kann auch durch einen Sicherungstrenner erfüllt werden. Der Sicherungstrenner sitzt in der Kransteuerung und kann gegen versehentliches Wiedereinschalten gesichert werden.

 

 

Nur bei Säulenschwenkkran

 

Übersicht: Elektrischer Anschluss des Krans

─     Die Stromversorgung für den Kran beginnt bei der Unterverteilung (7) des Stromnetzes.

─     Von dort geht eine Leitung (6) zum Säulenfuß des Schwenkkrans und wird durch das Fundament in die Säule (1) geführt.

─     Die Leitung geht zum Netzanschlussschalter (5) des Krans.

Ein Netzanschlussschalter ist die beste Möglichkeit, um den gesamten Kran freischalten zu können.

Der Netzanschlussschalter muss gegen versehentliches Wiedereinschalten zu sichern sein.

Der Netzanschlussschalter befindet sich in Bedienhöhe in der Säule.

─     Vom Netzanschlussschalter geht eine Leitung innerhalb der Säule bis oben und wird dort herausgeführt.
Bei Bauart LS und LSX: Die Leitung wird direkt aus der Säule herausgeführt.
Bei Bauart VS: Die Leitung geht in der Säule bis zum Schleifringkörper (3).

─     Bei Bauart LS und LSX: Die Leitung aus der Säule wird direkt mit der Katzstromzuführung (4) verbunden. Eventuell ist je nach Steuerung noch ein Gehäuse mit Sicherungen vorgesehen, mit denen der Kran abgesichert ist.

Bei Bauart VS: Vom Schleifringkörper geht die Leitung entweder zum Auslegerschützkasten (2) und von dort zur Katzstromzuführung (4) oder direkt vom Schleifringkörper zur Katzstromzuführung. Eventuell ist je nach Steuerung noch ein Gehäuse mit Sicherungen vorgesehen, mit denen der Kran abgesichert ist.

 

 

Nur bei Wandschwenkkran

 

Übersicht: Elektrischer Anschluss des Krans

─     Die Stromversorgung für den Kran beginnt bei der Unterverteilung (6) des Stromnetzes.

─     Von dort geht eine Leitung (5) zum Netzanschlussschalter (4) des Krans.

Ein Netzanschlussschalter ist die beste Möglichkeit, um den gesamten Kran freischalten zu können.

Der Netzanschlussschalter muss gegen versehentliches Wiedereinschalten zu sichern sein.

Der Netzanschlussschalter befindet sich meist unterhalb des Krans, z. B. an der Hallenwand oder an einer Hallenstütze oder Betonstütze.

─     Vom Netzanschlussschalter geht die Steigleitung (1) bis zum Kran.

─     Bei Bauart LW und LWX: Die Leitung wird direkt mit der Katzstromzuführung (4) verbunden. Eventuell ist je nach Steuerung noch ein Gehäuse mit Sicherungen vorgesehen, mit denen der Kran abgesichert ist.

Bei Bauart VW: Die Leitung geht entweder zum Auslegerschützkasten (2) und von dort zur Katzstromzuführung (4) oder direkt zur Katzstromzuführung. Eventuell ist je nach Steuerung noch ein Gehäuse mit Sicherungen vorgesehen, mit denen der Kran abgesichert ist.

 

 

Nur bei HB-Kran Einschienenbahn ESB und Zweischienenbahn ZSB

 

Übersicht: Elektrischer Anschluss des HB-Krans

─     Die Stromversorgung für den HB-Kran beginnt bei der Unterverteilung (6) des Stromnetzes.

─     Von dort geht eine Leitung (5) zum Netzanschlussschalter (1) der HB-Krananlage.

Ein Netzanschlussschalter ist die beste Möglichkeit, um die gesamte HB-Krananlage freischalten zu können.

Der Netzanschlussschalter muss gegen versehentliches Wiedereinschalten zu sichern sein.

Der Netzanschlussschalter befindet sich meist unterhalb der Hauptstromzuführung des HB-Krans, z. B. an der Hallenwand oder an einer Hallenstütze oder Betonstütze.

─     Vom Netzanschlussschalter geht die Steigleitung (2) zur Einspeisung (3).

─     Dort wird die Leitung mit der Katzstromzuführung (4) verbunden. Eventuell ist je nach Steuerung noch ein Gehäuse mit Sicherungen vorgesehen, mit denen der Kran abgesichert ist.

 

 

Nur bei HB-Kran EHB und Zweiträgerkran ZHB

 

Übersicht: Elektrischer Anschluss des HB-Krans

─     Die Stromversorgung für den HB-Kran beginnt bei der Unterverteilung (8) des Stromnetzes.

─     Von dort geht eine Leitung (7) zum Netzanschlussschalter (1) der HB-Krananlage.

Ein Netzanschlussschalter ist die beste Möglichkeit, um die gesamte HB-Krananlage freischalten zu können.

Der Netzanschlussschalter muss gegen versehentliches Wiedereinschalten zu sichern sein.

Der Netzanschlussschalter befindet sich meist unterhalb der Hauptstromzuführung des HB-Krans, z.B. an der Hallenwand oder an einer Hallenstütze oder Betonstütze

─     Vom Netzanschlussschalter geht die Steigleitung (2) zur Einspeisung (3).

─     Die Einspeisung verbindet die Steigleitung mit der Hauptstromzuführung (4) des Krans.

─     Bei Schleifleitung: In der Hauptstromzuführung befindet sich ein beweglicher Stromabnehmer (5), der mit dem HB-Kran entlang der HB-Kranbahn fährt.
Bei Schleppleitung: Die Leitung der Hauptstromzuführung hängt in Schlaufen an der HB-Kranbahn und wird vom HB-Kran mitgezogen.

─     Der HB-Kran wird mit der Hauptstromzuführung verbunden.

Besteht die HB-Krananlage aus einem einzelnen HB-Kran, wird die Hauptstromzuführung direkt mit dem HB-Kran verbunden. Eventuell ist je nach Steuerung noch ein Gehäuse mit Sicherungen vorgesehen, mit denen der Kran abgesichert ist.

─     Besteht die HB-Krananlage aus mehreren HB-Kranen, befindet sich ein Netztrennschalter am Kran.

Mit diesem Netztrennschalter kann der einzelne HB-Kran freigeschaltet werden. Der Netztrennschalter ist gegen versehentliches Wiedereinschalten zu sichern. Eventuell ist je nach Steuerung noch ein Gehäuse mit Sicherungen vorgesehen, mit denen der Kran abgesichert ist.

 

 

Nur bei Leichtportalkran

 

Übersicht: Elektrischer Anschluss des Krans

─     Die Stromversorgung für den Kran beginnt an einer Drehstrom-Steckdose (4).

─     Von dort geht eine geeignete Leitung mit CEE-Stecker (3) zum Netztrennstecker (2) des Krans.

─     Von dort geht eine Leitung zum Netzanschlussschalter (1) des Krans.

Der Netzanschlussschalter befindet sich an einer der Portalstützen am Kran.

 

 

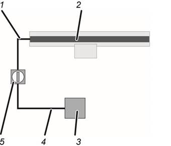
Nur bei Einschienenkatzbahn

 

Übersicht: Elektrischer Anschluss des Krans

─     Die Stromversorgung für den Kran beginnt bei der Unterverteilung (3) des Stromnetzes.

─     Von dort geht eine Leitung (4) zum Netzanschlussschalter (5) des Krans.

Ein Netzanschlussschalter ist die beste Möglichkeit, um den gesamten Kran freischalten zu können.

Der Netzanschlussschalter muss gegen versehentliches Wiedereinschalten zu sichern sein.

Der Netzanschlussschalter befindet sich meist unterhalb des Krans, z.B. an der Hallenwand oder an einer Hallenstütze oder Betonstütze.

─     Vom Netzanschlussschalter geht die Steigleitung (1) bis zum Kran.

─     Dort ist die Leitung an die Katzstromzuführung (2) angeschlossen.

 

 

Nur bei Solo-Kettenzug

 

Übersicht: Elektrischer Anschluss des Krans

─     Die Stromversorgung für den Solo-Kettenzug wird nach den Gegebenheiten in der Halle hergestellt.

─     In der Leitung (3) muss ein Hauptschalter als Netzanschlussschalter (2) oder eine Steckverbindung als Netztrennstecker vorhanden sein.

Die Bajonettkupplung (1) am Kettenzug kann nicht gegen versehentliches Wiedereinschalten gesichert werden und ist daher als Netztrennstecker nicht geeignet.

 

 

Nur bei Solo-Seilzug

 

Übersicht: Elektrischer Anschluss des Krans

─     Die Stromversorgung für den Solo-Seilzug wird nach den Gegebenheiten in der Halle hergestellt.

─     Der Netztrennstecker (1) am Seilzug kann gegen versehentliches Wiedereinschalten gesichert werden.

─     Dennoch ist es sinnvoll, in der Leitung (3) einen entsprechenden Hauptschalter als Netzanschlussschalter (2) vorzusehen.

 

 

 

Örtliches Stromnetz prüfen

*   Bei Kran ohne Vorschalttrafo: Betriebsspannung und Netzfrequenz des Krans mit der Netzspannung und Netzfrequenz des örtlichen Stromnetzes vergleichen.

Die Betriebsspannung und Netzfrequenz sind auf den Typenschildern am Kran und im Prüfbuch angegeben.

Betriebsspannung und Netzspannung sowie die Netzfrequenz müssen zueinander passen.

*   Bei Kran mit Vorschalttrafo: Die Netzspannung des örtlichen Stromnetzes muss durch einen Vorschalttrafo auf die Betriebsspannung des Krans transformiert werden.

Betriebsspannung und Netzfrequenz am Eingang des Vorschalttrafos mit der Netzspannung und Netzfrequenz des örtlichen Stromnetzes vergleichen.

 

 

Kran anschließen

Warnung Strom

Gefahr für personen durch Stromschlag!

Beim Anschließen des Krans liegen hohe Spannungen an.

Diese können Personen töten oder verletzen.

Arbeiten an elektrischen Anlagen und Teilen nur von einer Elektro-Fachkraft und im spannungslosen Zustand durchführen.

 

*   Leitungen verlegen, Netzanschlussschalter anbringen und den Kran anschließen.

 

 

Drehfeld prüfen

Der Kran darf nur an einem 3-Phasen-Stromnetz mit rechtsdrehendem Drehfeld betrieben werden.

 

*   Not-Halt-Taster entriegeln.

*   Taster für Heben halb drücken.

●   Der Lasthaken muss langsam nach oben fahren oder stehen bleiben (wenn der Notgrenzschalter oben bereits angefahren ist).

 

 

Fährt der Lasthaken stattdessen nach unten:

●   Die Phasen im Stromnetz sind vertauscht.

*   Die vertauschten Phasen korrigieren.

Nach Möglichkeit die Phasen dort korrigieren, wo sie zuvor vertauscht wurden. Nur in Ausnahmefällen die Phasen direkt an der Netzzuleitung erneut tauschen.

 

 

Schutzleiter prüfen

Alle Bauteile des Krans sind mit dem Schutzleiter des örtlichen Stromnetzes verbunden. Diese Verbindungen sind durch Steckverbindungen, Kabelschuhe und ähnliches hergestellt.

 

Bei allen Schutzleiterverbindungen, die bei der Montage des Krans hergestellt worden sind:

*   Sichtprüfung durchführen.

Die Schutzleiter müssen durchgängig und korrekt angeschlossen sein.

 

Beispiele für Schutzleiteranschlüsse:

Buchsenleiste in Stiftklemmleiste

 

Schirmklammer im Steckergehäuse

 

Kabelschuh im Steckergehäuse