Installing, setting and teaching-in distance sensor [2]

With trolley travel distance sensors: The trolleys measure their distance from the end of the main girder in each case with a distance sensor laser beam. With this measurement, the braking function and shut-down can be implemented (instead of by the usual cross-type limit switch) and also the anti-collision device (instead of by the usual reflective light barriers) through the resulting calculated position of both trolleys. In the joint operation of both trolleys, the constant distance between the trolleys is also calculated and correspondingly controlled.

With crane travel distance sensor: The cranes measure their distance from another crane on the same run (or from both of the other cranes on the same run) via the distance sensor laser beam. This enables the braking function and the shut-down to the other crane/s on the same run to be implemented (instead of by the usual reflective light barriers). This also enables the constant distance to be controlled in tandem operation. The braking function and shut-down at the end of the crane track is implemented via the cross-type limit switch.

Reflective light barriers or one-way light barriers are generally used when there is a crane distancing system due to structural reasons or a load-dependent crane distancing system. Cross-type limit switches are generally used for building profile controls.

For this work step, access from a laptop or tablet computer to KranOS is necessary. The user "Abnahme" (commissioning) (user level ‚[2]) must be logged in.

 

 

Warnung Vorsicht

Danger due to malfunction

The distance sensor can only fulfil its safety function when it is correctly fastened. Otherwise malfunctions could occur (e.g. if the distance sensor is not correctly attached and falls down).

Carefully fasten and align the distance sensor and reflector.

 

 

Overview: Distance sensor and reflector

─     With crane travel distance sensor: The distance sensor of the crane and the reflector for the distance sensor of another crane on the same run are fastened on a shared mount on the end carriage. On the other crane on the same run, the placement of distance sensor and reflector are accordingly interchanged. The light beams of the distance sensors are not allowed to cross each other.

─     With trolley travel distance sensor on the wire rope hoist GM modular: The distance sensor is pushed laterally onto a mount in the cover of the cable drum. The reflector is taped onto the end carriage of the crane as adhesive foil or fastened on a square tube.

─     With trolley travel distance sensor on the wire rope hoist GM compact: The distance sensor is installed on the trolley frame with a magnetic mount. The reflector is taped onto the end carriage of the crane as adhesive foil or fastened on a square tube.

 

 

Installing distance sensor

The distance sensor is either fastened with a mount on a square tube on the end carriage or attached to the wire rope hoist with a magnetic mount.

 

Only with distance sensor on square tube

 

Installing the mount for the light barriers

Threaded bracket

 

Mount

Pipe clamp

*   Attach the mount on the end carriage.

*   Bolt the mount onto the threaded bracket.

Threaded bracket

Tightening torque

M8

25 Nm

M10

50 Nm

M12

75 Nm

*   Slide on the two pipe clamps and secure them.

*   Push the square tube in the pipe clamps and screw tight.

 

Adapter

Mounting plate

Distance sensor

 

*   Push the entire mount onto the square tube.

*   Screw in the mount using M8 rib nuts (4x) and tighten by hand.

*   Push the distance sensor into the adapter on the mounting plate and tighten the screws.

 

 

 

 

Only with distance sensor on magnetic mount

 

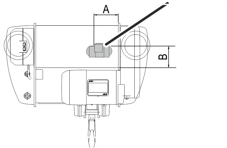
*   Select the appropriate size and type from the following drawing.

*   Read the dimensions A and B from the following table.

 

 

Magnetic mount

Assembly position of the magnetic mount on wire rope hoist E

Size

Dimension A

Dimension B

800 4/1

130

100

1000 2/1

130

130

1000 4/1

130

130

2000 2/1

130

130

2000 4/1

130

160

3000 2/1

130

160

3000 4/1

130

160

5000 2/1

130

160

5000 4/1

130

200

6000 2/1

130

160

 

 

Assembly position of the magnetic mount on wire rope hoist S. Observe dimension C and fasten the distance sensor as centred as possible on the rope drive.

Size

Dimension A

800 4/1

140

1000 4/1

180

2000 4/1

180

3000 2/1

180

3000 4/1

245

 

 

Assembly position of the magnetic mount on wire rope hoist U. Observe the different positions for the left and right distance sensor.

Size

Dimension A

Dimension B

Dimension C

Dimension D

5000 4/1

330

350

310

660

6000 2/1

325

640

285

560

6000 4/1

400

320

370

595

7000 2/1

360

420

450

550

 

 

Assembly position of the magnetic mount on wire rope hoist D.

Size

Dimension A

Dimension B

800 4/1

210

60

1000 4/1

200

50

2000 2/1

200

50

2000 4/1

200

50

3000 2/1

225

50

3000 4/1

225

50

5000 2/1

200

50

5000 4/1

130

50

5000 4/2

200

50

5000 6/1

130

50

6000 2/1

200

45

6000 4/1

170

50

6000 6/1

200

50

7000 2/1

190

50

7000 4/1

190

50

7000 4/2

190

50

7000 6/1

190

60

7000 8/2

190

50

 

 

Assembly position of the magnetic mount on wire rope hoist DA.

Size

Dimension A

Dimension C

800 4/1

540

30

1000 4/1

250

35

2000 2/1

520

55

2000 4/1

520

55

3000 2/1

470

50

3000 4/1

550

60

5000 2/1

550

45

5000 4/1

610

55

6000 2/1

565

50

6000 4/1

700

55

7000 2/1

590

70

7000 4/1

390

170

7000 6/1

350

200

 

 

Assembly position of the magnetic mount on wire rope hoist DQA. Observe dimension C and fasten the distance sensor as centred as possible on the rope drive.

Size

Track

Dimension C

2000

1400

100

3000

1400

85

2000

1600

100

3000

1600

85

5000

1600

75

6000

1600

80

2000

2000

95

3000

2000

85

5000

2000

75

6000

2000

85

2000

2500

100

3000

2500

80

5000

2500

75

6000

2500

85

7000

2500

100

7000

3000

100

7000

3500

100

 

 

Assembly position of the magnetic mount on wire rope hoist Z.

Size

Dimension B

5000 4/2

535

5000 8/2

580

6000 4/2

565

6000 8/2

570

7000 4/2

725

7000 6/2

850

7000 8/2

660

7000 10/2

300

7000 12/2

470

 

 

Assembly position of the magnetic mount on wire rope hoist ZA.

Size

Dimension A

Dimension C

5000 8/2

315

355

6000 8/2

315

200

7000 6/2

440

500

7000 8/2

420

482

7000 10/2

500

570

 

 

Magnetic mount

 

*   Attach the magnetic mount to the wire rope hoist.

The position specified refers to the point on the distance sensor at which the laser beam emerges from it.

Depending on the installation situation, the position for the magnetic mount may already be marked.

 

 

 

 

Only with wire rope hoist GM modular

 

Drum side

 

*   Pull off the cover from the drum side.

 

 

 

Angle plate

*   Push the angle plate with the slit laterally into the cover.

*   Place the cover on the wire rope hoist.

*   Push the distance sensor into the adapter on the mounting plate and tighten the screws.

 

 

 

 

 

 

Installing reflector

*   During tandem control: Put the cranes at maximum distance.

*   During the joint operation of two trolleys: Put trolleys at maximum distance.

 

 

Only with reflector as adhesive foil

 

*   Move the adhesive foil so that the laser point is as close to centred as possible.

The more precise adjustment is done later on the distance sensor. The position of the adhered adhesive foil can no longer be corrected.

*   Press on the adhesive foil.

 

 

Only with reflectors on a square tube

 

Threaded bracket

 

Mount

Pipe clamp

*   Bolt the mount onto the threaded bracket.

Threaded bracket

Tightening torque

M8

25 Nm

M10

50 Nm

M12

75 Nm

*   Slide on the two pipe clamps and secure them.

 

 

Square tube

 

 

Reflector

*   Push the square tube in the pipe clamps.

*   Push the reflector onto the square tube.

*   Move the reflector so that the laser point is as close to centred as possible.

The more precise adjustment is done later on the distance sensor.

*   Screw on the pipe clamps and reflector using M8 rib nuts (4x) and tighten by hand.

 

 

 

Setting distance sensor

Only with mount

 

 

Fillister-head screw M6x20

*   Adjust the distance sensor with M6x20 fillister-head screws (3x) so that the laser point is exactly on the centre of the reflector.

●   If the distance sensor receives the laser beam reflected from the reflector, the LEDs on the distance sensor light up.

●   If the distance sensor does not receive the laser beam, one of the LEDs flashes.

 

 

 

 

Only with magnetic mount

 

Adjust the distance sensor with the rough and fine adjustment screws so that the laser point is exactly in the centre of the reflector.

 

Fillister-head screw for the fine adjustment

Fillister-head screw for the rough adjustment

*   Release the fillister-head screw in the elongated hole for the rough adjustment and tilt the distance sensor.

*   If necessary, release the fillister-head screw for the fine adjustment and fine-adjust the distance sensor with the short, crosswise-lying fillister-head screw.

●   If the distance sensor receives the laser beam reflected from the reflector, the LEDs on the distance sensor light up.

●   If the distance sensor does not receive the laser beam, one of the LEDs flashes.

*   Tighten the long fillister-head screws (2x).

 

 

*   Travel along the entire traversing range with the crane (or the trolley) and check whether the laser beam meets the reflector at every position and does not drift laterally or upwards/downwards.

 

 

 

Opening the distance sensor settings

Overview: Navigation in KranOS

User "Abnahme" (commissioning) à "Crane travel" à "Crane travel distance sensors"

User "Abnahme" (commissioning) à "Trolley travel" à "Trolley travel distance sensors"

 

*   Log in as user "Abnahme" (commissioning) (user level [2]) in KranOS. See Connecting laptop or tablet computer with ABUControl.

*   Select the desired trolley drive or crane travel drive (e.g. trolley travel 1 or crane travel) in the main menu.

●   The window for the requested drive appears.

*   Click on the "Crane travel distance sensors" (or "Trolley travel distance sensors") menu item in the "Settings" menu (three horizontal bars).

 

 

Teaching-in distance sensor

Now the distance sensor will be taught in. For this purpose, the crane/trolley is travelled to the desired position and the distance sensor value determined for this position is saved in ABUControl.

 

 

Note regarding "Calibration mode"

The upper area of the window "Crane travel distance sensors" or "Trolley travel distance sensors" is used to calibrate the distance sensor when the maximum distance to the reflector is greater than 35 metres. This is only required with older program versions of ABUControl in rare cases. This function is therefore deactivated in the current version.

 

 

 

Description field with current position

"Teach-in mode" button

"Write PLC" button

Message with the next switching point to be travelled to

*   Click on "Teach-in mode" button.

●   The button's background turns green.

●   "Teach-in mode" is switched on.

●   The "Bypass limit switch" button turns red.

It is possible that switching points for braking function and shut-down already saved will now be ignored.

Thus, the trolley (the crane) can be moved to any new positions.

●   A message appears for which switching point (braking function or shut-down) is to be travelled to.

*   Travel the trolley (the crane) to the corresponding position.

The distance sensor must be at least 0.5 m away from the reflector.

*   In the column for the switching point which is to be learnt: Click on the "Write PLC" button.

●   The measured value for the current position is displayed in the description field.

The displayed value is a measured value without measurement unit, which is used to calculate the position later.

 

*   Repeat the process for all further switching points.

 

 

After the switching points have been saved:

●   The teach-in mode ends automatically.

●   The limit switch bridging turns off automatically.