Monter, régler et effectuer l'apprentissage du capteur de distance [2]

Capteur de distance pour translation du chariot de direction : à l'aide du capteur de distance, les chariots de direction mesurent, via rayon laser, leur distance par rapport à l'extrémité de la poutre principale. L'arrêt progressif et la coupure totale sont réalisés à partir de cette mesure (au lieu des interrupteurs à levier en croix habituels) ; de plus, le système calcule la sécurité anti-collision par l'intermédiaire de la position des deux chariots de direction ainsi calculée. En fonctionnement commun des deux chariots de direction, l'écart toujours constant entre les chariots de direction est également calculé et réglé sur la base de cette mesure.

Capteur de distance pour translation du pont : à l'aide du capteur de distance, les ponts mesurent, via rayon laser, leur distance par rapport au pont duplex (ou par rapport aux deux ponts duplex). Ceci permet de réaliser l'arrêt progressif et la coupure totale par rapport au(x) pont(s) duplex (au lieu des cellules photoélectrique à réflexion habituelles). C'est également à partir de cette mesure que le système règle la distance continue pour le fonctionnement en tandem. L'arrêt progressif et la coupure totale à la fin de chemin de roulement s'effectue à l'aide d'interrupteurs à levier en croix.

En général, un maintien à distance de ponts pour des raisons statiques ou des raisons de charge s'effectue par l'intermédiaire de cellules photoélectriques à réflexion ou de cellules photoélectriques à voie unique. Pour la commande de profil du bâtiment, des interrupteurs à levier en croix sont habituellement utilisés.

Pour cette étape de travail, un accès à KranOS via un ordinateur portable ou une tablette est requis. L'utilisateur « Abnahme » (réception) (niveau d'utilisateur [2]‚) doit être connecté.

 

 

Warnung Vorsicht

Risque de dysfonctionnement

Le capteur de distance ne peut remplir sa fonction de sécurité que s'il est correctement fixé. Si ce n'est pas le cas, des dysfonctionnements peuvent se produire (par exemple, le capteur de distance risque de tomber s'il n'est pas correctement fixé).

Fixer et orienter le capteur de distance et le réflecteur avec précaution.

 

 

Aperçu : capteur de distance et réflecteur

─     Avec capteur de distance pour translation du pont : le capteur de distance du pont et le réflecteur pour le capteur de distance du pont duplex sont fixés au sommier sur un support commun. Sur le pont duplex, la disposition du capteur de distance et du réflecteur est donc inversée. Les rayons laser du capteur de distance ne doivent pas se croiser.

─     Avec capteur de distance pour translation du chariot sur le treuil à câble GM modular : le capteur de distance est introduit latéralement dans le cache du tambour à câble sur un support. Le réflecteur est collé sur le sommier du pont sous forme de film adhésif ou fixé à un tube carré.

─     Avec capteur de distance pour translation du chariot sur le treuil à câble GM kompakt : le capteur de distance est monté sur le châssis du chariot de direction avec un support magnétique. Le réflecteur est collé sur le sommier du pont sous forme de film adhésif ou fixé à un tube carré.

 

 

Monter le capteur de distance

Le capteur de distance doit être fixé à un tube carré avec un support sur le sommier ou installé sur le treuil à câble avec un support magnétique.

 

Uniquement avec capteur de distance sur tube carré

 

Montage du support pour les cellules photoélectriques

Étrier fileté

 

Support

Bride pour tuyau

*   Fixer le support au sommier.

*   Visser le support avec l'étrier fileté.

Étrier fileté

Couple de serrage

M8

25 Nm

M10

50 Nm

M12

75 Nm

*   Enfiler et fixer les 2 brides pour tuyau.

*   Introduire le tube carré dans les brides pour tuyau et le visser.

 

Adaptateur

Plaque de fixation

Capteur de distance

 

*   Glisser le support complet sur le tube carré.

*   Fixer le support à l'aide des écrous à côtes M8 (4x).

*   Glisser le capteur de distance dans l'adaptateur sur la plaque de fixation et serrer les vis.

 

 

 

 

Uniquement avec capteur de distance sur support magnétique

 

*   Sur le dessin suivant, choisir la taille et le type appropriés.

*   Relevez les cotes dans le tableau suivant.

 

 

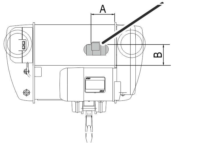
Support magnétique

Position de montage du support magnétique sur le treuil à câble E

Taille

Cote A

Cote B

800 4/1

130

100

1000 2/1

130

130

1000 4/1

130

130

2000 2/1

130

130

2000 4/1

130

160

3000 2/1

130

160

3000 4/1

130

160

5000 2/1

130

160

5000 4/1

130

200

6000 2/1

130

160

 

 

Position de montage du support magnétique sur le treuil à câble S. Tenir compte de la cote C et fixer le capteur de distance en le centrant le plus possible sur l'entraînement par câble.

Taille

Cote A

800 4/1

140

1000 4/1

180

2000 4/1

180

3000 2/1

180

3000 4/1

245

 

 

Position de montage du support magnétique sur le treuil à câble U. Tenir compte des différentes positions pour le capteur de distance gauche et droit.

Taille

Cote A

Cote B

Cote C

Cote D

5000 4/1

330

350

310

660

6000 2/1

325

640

285

560

6000 4/1

400

320

370

595

7000 2/1

360

420

450

550

 

 

Position de montage du support magnétique sur le treuil à câble D.

Taille

Cote A

Cote B

800 4/1

210

60

1000 4/1

200

50

2000 2/1

200

50

2000 4/1

200

50

3000 2/1

225

50

3000 4/1

225

50

5000 2/1

200

50

5000 4/1

130

50

5000 4/2

200

50

5000 6/1

130

50

6000 2/1

200

45

6000 4/1

170

50

6000 6/1

200

50

7000 2/1

190

50

7000 4/1

190

50

7000 4/2

190

50

7000 6/1

190

60

7000 8/2

190

50

 

 

 

 

 

Position de montage du support magnétique sur le treuil à câble DA.

Taille

Cote A

Cote C

800 4/1

540

30

1000 4/1

250

35

2000 2/1

520

55

2000 4/1

520

55

3000 2/1

470

50

3000 4/1

550

60

5000 2/1

550

45

5000 4/1

610

55

6000 2/1

565

50

6000 4/1

700

55

7000 2/1

590

70

7000 4/1

390

170

7000 6/1

350

200

 

 

 

 

 

 

Position de montage du support magnétique sur le treuil à câble DQA. Tenir compte de la cote C et fixer le capteur de distance en le centrant le plus possible sur l'entraînement par câble.

Taille

Voie

Cote C

2000

1400

100

3000

1400

85

2000

1600

100

3000

1600

85

5000

1600

75

6000

1600

80

2000

2000

95

3000

2000

85

5000

2000

75

6000

2000

85

2000

2500

100

3000

2500

80

5000

2500

75

6000

2500

85

7000

2500

100

7000

3000

100

7000

3500

100

 

 

 

 

 

Position de montage du support magnétique sur le treuil à câble Z.

Taille

Cote B

5000 4/2

535

5000 8/2

580

6000 4/2

565

6000 8/2

570

7000 4/2

725

7000 6/2

850

7000 8/2

660

7000 10/2

300

7000 12/2

470

 

 

Position de montage du support magnétique sur le treuil à câble ZA.

Taille

Cote A

Cote C

5000 8/2

315

355

6000 8/2

315

200

7000 6/2

440

500

7000 8/2

420

482

7000 10/2

500

570

 

 

 

 

 

Support magnétique

 

*   Installer le support magnétique sur le treuil à câble.

La position indiquée se réfère au point du capteur de distance au niveau duquel le rayon laser sort du capteur de distance.

Selon la situation de montage, la position du support magnétique est éventuellement déjà marquée.

 

 

 

 

Uniquement avec treuil à câble GM modulaire

 

Côté tambour

 

*   Retirer le cache du côté tambour.

 

 

 

Support

*   À l'aide de la fente, introduire le support latéralement dans le cache.

*   Mettre en place le cache sur le treuil à câble.

*   Glisser le capteur de distance dans l'adaptateur sur la plaque de fixation et serrer les vis.

 

 

 

 

 

 

Monter le réflecteur

*   Marche tandem : éloignez les ponts le plus possible l'un de l'autre.

*   Fonctionnement commun de deux chariots de direction : éloignez les chariots de direction le plus possible l'un de l'autre.

 

 

Uniquement avec réflecteur comme film adhésif

 

*   Positionner le réflecteur comme film adhésif de sorte à ce que le point laser se trouve le plus au milieu possible.

Le réglage exact aura lieu plus tard sur le capteur de distance. La position du film collé ne peut plus être rectifiée.

*   Presser le film adhésif.

 

 

Uniquement avec réflecteur sur un tube carré

 

Étrier fileté

 

Support

Bride pour tuyau

*   Visser le support avec l'étrier fileté.

Étrier fileté

Couple de serrage

M8

25 Nm

M10

50 Nm

M12

75 Nm

*   Enfiler et fixer les 2 brides pour tuyau.

 

 

 

 

tube carré

 

 

Réflecteur

*   Introduire le tube carré dans les brides pour tuyau.

*   Glisser le réflecteur sur le tube carré.

*   Déplacer le réflecteur de sorte à ce que le point laser se trouve le plus au milieu possible.

Le réglage exact aura lieu plus tard sur le capteur de distance.

*   Bien visser manuellement les brides pour tuyau et le réflecteur à l'aide des 4 écrous à côtes M8.

 

 

 

Régler le capteur de distance

Uniquement avec support

 

 

Vis à tête cylindrique M6x20

*   Régler le capteur de distance à l'aide des vis à tête cylindrique M6x20 (3x) de sorte à ce que le pont laser se trouve exactement au milieu du réflecteur.

●   Si le capteur de distance reçoit le rayon laser renvoyé par le réflecteur, les LED du capteur de distance s'allument.

●   Si le capteur de distance nr reçoit pas le rayon laser, une des LED du capteur de distance clignote.

 

 

 

 

Uniquement avec support magnétique

 

Régler le capteur de distance à l'aide du réglage grossier et du réglage fin de sorte à ce que le point laser se trouve exactement au milieu du réflecteur.

 

Vis à tête cylindrique pour le réglage fin

Vis à tête cylindrique pour le réglage grossier

*   Desserrer la vis à tête cylindrique pour le réglage grossier dans le trou oblong et basculer le capteur de distance.

*   Si nécessaire : desserrer la vis à tête cylindrique du réglage fin et effectuer le réglage fin du capteur de distance avec la courte vis à tête cylindrique transversale.

●   Si le capteur de distance reçoit le rayon laser renvoyé par le réflecteur, les LED du capteur de distance s'allument.

●   Si le capteur de distance nr reçoit pas le rayon laser, une des LED du capteur de distance clignote.

*   Visser les 2 longues vis à tête cylindrique.

 

 

*   Parcourir le champ de déplacement complet avec le pont ou le chariot de direction et contrôler si le rayon laser touche le réflecteur en chaque position sans s'éloigner dans le sens latéral ou horizontal.

 

 

 

Afficher les réglages du capteur de distance

Aperçu : navigation dans KranOS

Utilisateur « Abnahme » (réception) à « Translation du pont » à « Capteurs de distance pour translation du pont »

Utilisateur « Abnahme » (réception) à « Translation de chariot » à « Capteurs de distance pour translation du chariot »

 

*   Se connecter dans KranOS avec l'utilisateur « Abnahme » (réception) (niveau d'utilisateur [2]‚). Voir « Connecter un ordinateur portable ou une tablette à ABUControl ».

*   Dans le menu principal, sélectionner le motoréducteur de chariot de direction ou le motoréducteur de pont souhaité (par exemple Translation du chariot de direction 1 ou Translation du pont).

●   La fenêtre du motoréducteur souhaité apparaît.

*   Dans le menu « Réglages » (roue dentée sur fond jaune), cliquer sur l'option de menu « Capteurs de distance pour translation du pont » (ou « Capteurs de distance pour translation du chariot »).

 

 

Effectuer l'apprentissage du capteur de distance

Un apprentissage du capteur de distance est alors effectué. Pour ce faire, le pont/chariot de direction est déplacé à la position souhaitée, et la valeur déterminée pour cette position par le capteur de distance est sauvegardée dans ASBUControl.

 

 

Remarque concernant le « Mode étalonnage » :

La zone supérieure de la fenêtre « Capteurs de distance pour translation du pont » ou « Capteurs de distance pour translation du chariot » sert à l'étalonnage du capteur de distance si la distance maximale du réflecteur dépasse 35 mètres. Cela n'est que rarement nécessaire. En outre, cette zone de KranOS n'est prévue que pour des versions futures de KranOS et n'a pas encore de fonction.

 

 

Zone de texte avec la position actuelle

Bouton « Mode programmation »

Bouton « Écrire sur l'AP »

Message avec le point de commutation suivant à engager

*   Cliquer sur le bouton « Mode programmation ».

●   Le bouton apparaît sur fond vert.

●   Le mode d'apprentissage est activé.

●   Le bouton « Mettre la fin de course hors service » apparaît sur fond rouge.

D'éventuels points de commutation sauvegardés pour l'arrêt progressif et la coupure totale sont désormais ignorés.

Le chariot de direction (le pont) peut alors être déplacé à de nouvelles positions quelconques.

●   Un message apparaît demandant quel point de commutation (arrêt progressif ou coupure totale) doit être atteint.

*   Déplacer le chariot (le pont) à la position correspondante.

Le capteur de distance doit être éloigné au moins 0,5 m du réflecteur.

*   Dans la colonne du point de commutation à apprendre : cliquer sur le bouton « Écrire sur l'AP ».

●   La valeur mesurée pour la position actuelle est affichée dans la zone de texte.

La valeur affichée est une valeur mesurée sans unité de mesure à partir de laquelle la position sera calculée plus tard.

 

*   Répéter la procédure pour les autres points de commutation.

 

 

Après la sauvegarde des points de commutation :

●   Le mode d'apprentissage est arrêté automatiquement.

●   Le contournement des fins de course est désactive automatiquement.